产品特点与用途:
SD吊袋离心机是一种高性能吊袋卸料间歇操作的离心过滤设备。适用于固相松散度高,粒度适中,不易压缩,需要洗涤,液相粘度小的悬浮液进行固、液分离作业,不但适宜小批量多品种的物料分离,也适合大批量生产。广泛的应用于医药、化工、矿山、轻工、食品、国防及其他工业领域。
结构与原理:
电动机带动转鼓高速旋转,物料由顶部进料管加入转鼓,在离心力作用下趋向鼓壁,其中液相穿过滤布和鼓壁滤孔排出,固相截留在转鼓内,停机后启开机盖松开拦液板锁紧销,用起吊装置将拦液板连同装有滤渣的滤袋一并吊往卸料处,松开特制的吊爪使滤袋一端开口张开,滤饼便自动落下。
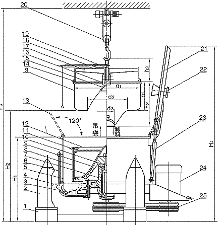
离心机结构图:


技术参数:

订货须知:
针对不同的分离要求,我们设计了相应的型式供客户选择,因此客户在订货时,可对以下情况作出确认。
材质:与物料接触部分的材料可为不锈钢、钛合金、碳钢等。
机盖形式:有对开和全开两种,对开式易于启闭,但全开式可满足密闭要求。
驱动方式:选用电磁调速电动驱动,可实现中,低速进料,高速分离的要求,改善操作,宜于多种物料的分离;采用变频调速的隔爆电机驱动时,还可提高密闭防爆程度,符合GMP规范要求;一般不需要调速的场合,可选用普通或隔爆电机驱动。