方瑞仪器 JCY-4 接触角测试仪是一款多功能仪器,既能测量固体的接触角表面能,又能测量液体的表面张力。它采用影像分析法,搭载高分辨率CCD摄像系统,具备高精度的接触角分析与测量能力,支持多种接触角分析方法和动态接触角分析,同时还提供固体表面自由能估算和液体表面张力测量功能。该仪器的应用范围广泛,包括金属焊接、印刷行业、粘贴剂研究、航天工业、军事科学、石油开采、纳米材料研究等领域,具备出色的测量精度和灵活性。此外,设备结构设计合理,操作简便,还支持数据库管理功能,是一款高性能、多功能的接触角测试仪。
JCY系列接触角测量仪是一款标准型的用于测量固体接触角表面能等和液体表面张力的仪器。采用的测试方法为影像分析法,通过标准的影像分析,采用CCD摄像和图像采集系统,同时,通过软件自动分析接触角值数据。影像分析法使用环境远高于力测量法,我们可以容易测得各种外形物品的接触角值。而力测量法对于材质的均匀度以及平整性均有较高的要求。影像分析法我们更可以用于测试高温条件下的样品的表面张力值,如融化后的聚合物。
主要特点
1、采用新的CCD摄像系统,能将被测液滴的影像清晰地显示在计算机屏幕上进行高精度的接触角分析与测量,相机最高分辨率:1280×1024, 帧频:15或45/秒
2、高精度水平控制,硬件水平校正与软件水平校正(曲线基线校正)相结合实现接触角曲线的水平线寻准更为精确
3、采用了航空铝制机身兼具轻便与稳固于一身
4、接触角自动计算,左右接触角对比功能
5、动态接触角分析系统,包括随时间变化而变化的接触角分析、前进角/后退角以及倾斜角、滚动角分析
6、固体表面能估算:Fowkes一液法、Owen二液法、 Zisman法、Acid-Base法等表面自由能估算
7、 软件附带亮度修正功能,修改图像亮度
8、多种测试方式:悬滴法、座滴法(静滴法);
9、表面张力测量:悬滴法(杨氏方程)测量液体表面张力
10、数据库管理功能:查询、备份、压缩、导出EXCEL表格
11、操作计算软件基于WIN XP、VIAST系统
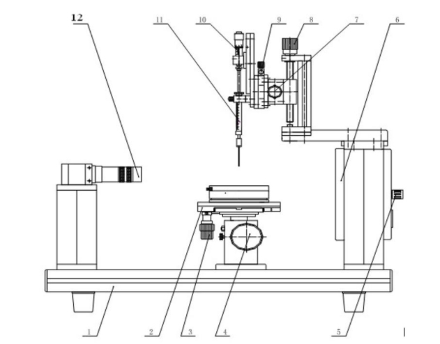
设备结构

1.机架2.置物工作台3.置物台前后移动旋钮4.置物台上下移动旋钮5.背光屏亮度.调节旋钮6. 背光屏7. 进样架左右调节8. 进样架上下调节9. 进样架角度微调10.进样液注入旋钮11. 进样针简12. 工业照相机
应用范围
- 金属焊接过程中,检测焊剂对金属的附着力;
- 印刷行业油墨、金属、纸张之间的附着力;
- 粘贴剂与固体间的粘接程度研究;
- 航天工业空中雨雾对飞机基体的润湿程度检测;
- 军事科学中弹片在空气中与雨雾接触角的测定;
- 石油开采过程中,注入添加剂与原油中固体前进角,后退角的测定;
- 纳米材料与不同活性剂间湿润性的测定、研究;
- 铝箔亲水角的测定;
型号选型

技术参数
型号 | JCY-4 | |
摄像系统 | 专业CCD数字相机 + 高性能显微镜头 | |
最高分辨率 | 1280×1024 | |
拍照方式 | 单张、连续 | |
光源 | 连续可调亮度的LED冷光源,发光均匀、所摄图像的轮廓更清晰、分辨率更高 | |
接触角分析方法 | θ/2法、切线法,可自动计算或手动(修正)计算 | |
接触角测量范围 | 0 ~ 180° | |
接触角测试分辨率 | 0.01° | |
固体表面能等 | 一液法、二液法表面自由能、液滴量、固体粘附力计算 | |
表面张力测试方法 | S-H表格法、形状因子法 | |
表面张力测试范围 | 0~400mN/m | |
表面张力测试分辨率 | 0.01mN/m | |
样品台位移 | 前后:60mm; 左右35mm; 上下50mm,样品台可水平调整,直径90mm | |
样品台尺寸 | 105×120mm | |
样品最大厚度 | ≤35mm | |
倾斜平台 | 测量前进/后退角、滑动角 | |
进样方式 | 手动微量进样器 | |
外形尺寸 | 525×160×470(长×宽×高,mm) | |
净重 | 12 kg | |
电源及功率 | 220V、50HZ 0.2KW | |