| 产品特征 |
|---|
| 光线种类 | 红光 |
| 通信接口 | IO-Link |
| 激光防护等级 | 1 |
| 尺寸 [mm] | 88 x 65 x 28.5 |
| 电气数据 |
|---|
| 工作电压 [V] | 10...30 DC |
| 电流损耗 [mA] | < 200 |
| 电流损耗参考电压 [V] | 10 |
| 防护等级 | III |
| 反相保护 | 有 |
| 开机延迟时间 [s] | 2 |
| 光线种类 | 红光 |
| 波长 [nm] | 650 |
| 总的输入/输出 |
|---|
| 输入和输出总数 | 数字输入数: 1; 数字输出数量: 2 |
| 输入 |
|---|
| 触发器 | 外部的 |
| 数字输入数 | 1 |
| 输出 |
|---|
| 电气设计 | PNP/NPN; (可设定参数) |
| 数字输出数量 | 2 |
| 输出功能 | 2 x 常开/常闭; (可设定参数) |
| 每个输出最大电流负载 [mA] | 100 |
| 短路保护类型 | 脉冲 |
| 过载保护 | 有 |
| 测量/设定范围 |
|---|
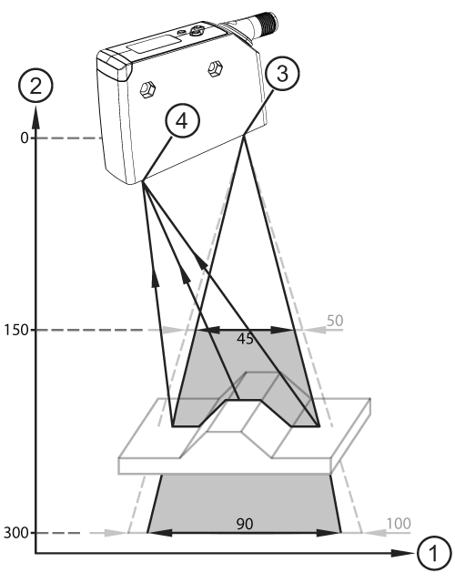
| 测量距离(Z方向) [mm] | 150...300 |
| 最小测量距离处的测量范围宽度(X方向) [mm] | 45; (距离 = 150mm) |
| 最大测量距离处的测量范围宽度(X方向) [mm] | 90; (距离 = 300mm) |
| 测量频率 [Hz] | 5 |
| 精度/偏差 |
|---|
| 测量值分辨率 | |
| 精确度 | | Z方向 ± 500 m | | X方向 ± 500 m | | 背景(白色90 %反射) |
|
| 软件/编程 |
|---|
| 可保存的轮廓数量 | 10 |
| 感兴趣区域的数量 | 2 |
| 接口 |
|---|
| 通信接口 | IO-Link |
| 传递类型 | COM3 (230,4 kBaud) |
| IO-Link revision | 1.1 |
| SDCI标准 | IEC 61131-9 |
| 外形 | Smart Sensor: Process Data Variable; Device Identification, Device Diagnosis |
| SIO模式 | 有 |
| 必需的mater port type | A |
| 处理周期最小值 [ms] | 2.3 |
| IO-Link过程数据(周期性) | |
| IO-Link功能(非周期性) | 运行小时数计数器; 触发事件数量; ROI设置 |
| 支持的DeviceID | |
| 注释 | |
| 工作条件 |
|---|
| 环境温度 [℃] | -10...55 |
| 存储温度 [℃] | -40...60 |
| 外壳防护等级 | IP 65 |
| 外部光线抵抗力最大值 [klx] | 20 |
| 认证/测试 |
|---|
| EMC电磁兼容 | |
| 激光防护等级 | 1 |
| 激光保护注意事项 | | 注意: | 激光 | | 激光等级: | 1 | | EN / IEC60825-1:2007 | | EN / IEC60825-1:2014 | | 符合21 CFR 1040,除了根据激光通知编号的偏差 50, 2007年六月. |
|
| 机械技术数据 |
|---|
| 重量 [g] | 534.5 |
| 尺寸 [mm] | 88 x 65 x 28.5 |
| 原材料 | 外壳: 模压铸锌; PPSU; ABS; PMMA; PBT / PC; EPDM; 前面透镜: PMMA |
| 显示器/操作件 |
|---|
| 显示 | | 开关状态 | 1 x LED, 黄色 | | 显示操作 | 1 x LED, 绿色 | | 彩色显示 |
|
| 注释 |
|---|
| 包装单位 | 1 件 |
| 电气连接 |
|---|
| 接口 | 接插件: 1 x M12 |
| 图表 |
|---|
| 
|
|---|
| 其他数据 |
|---|
| 光线 |
|---|
| 测量距离(Z方向) | 光线 | | 150 mm | 50 x 1 mm | | 300 mm | 100 x 1 mm |
|
| 数值用于 | | | 物体的外部光线 | < 20 klx | | 恒定的环境条件 | 23 ℃ / 960 hPa | | 最小的启动时间(分钟) | 10 |
|