| 产品特征 |
|---|
| 光线种类 | 红光 |
| 测量范围 [m] | 0.085...1.5 |
| 物体反射率设置范围 [%] | 6...900; (反射率; 6 % 黑色纸; 100 % 白纸) |
| 通信接口 | IO-Link |
| 激光防护等级 | 1 |
| 尺寸 [mm] | 61.7 x 22.5 x 45.2 |
| 电气数据 |
|---|
| 工作电压 [V] | 10...30 DC; (符合cULus - Class 2标准) |
| 电流损耗 [mA] | < 75 |
| 电流损耗参考电压 [V] | 24 |
| 防护等级 | III |
| 反相保护 | 有 |
| 光线种类 | 红光 |
| 波长 [nm] | 650 |
| 使用寿命 [h] | 50000 |
| 输入 |
|---|
| 输入 | 激光打开/关闭 |
| 输出 |
|---|
| 电气设计 | PNP |
| 输出功能 | 2 x 常开/常闭; (可设定参数) |
| 每个输出最大电流负载 [mA] | 100 |
| 短路保护类型 | 脉冲 |
| 过载保护 | 有 |
| 监控范围 |
|---|
| 光斑直径最大值 [mm] | 5 |
| 光点尺寸参考 | 在***检测距离 |
| 背景消隐 [m] | < 20 |
| 测量/设定范围 |
|---|
| 测量范围 [m] | 0.085...1.5 |
| 物体反射率设置范围 [%] | 6...900; (反射率; 6 % 黑色纸; 100 % 白纸) |
| 测量频率 [Hz] | 33 |
| 接口 |
|---|
| 通信接口 | IO-Link |
| 传递类型 | COM2 (38,4 kBaud) |
| IO-Link revision | 1.1 |
| SDCI标准 | IEC 61131-9 |
| 外形 | Smart Sensor: Sensor Identification; Binary Data Channel; Process Value; Sensor Diagnosis |
| SIO模式 | 有 |
| 必需的mater port type | A |
| 处理周期最小值 [ms] | 5 |
| IO-Link过程数据(周期性) | | 功能 | 位长 | | 过程值 | 2 x 16 | | 设备状态 | 4 | | 二进制开关信息 | 2 |
|
| IO-Link功能(非周期性) | 应用特定标签; 运行小时数计数器; 开关循环数计数器 |
| 支持的DeviceID | |
| 注释 | |
| 工作条件 |
|---|
| 环境温度 [°C] | -25...60 |
| 注意环境温度 | | 当环境温度<-10°C时,预热时间是必要的。 | | 激光关闭。 |
|
| 存储温度 [°C] | -30...80 |
| 外壳防护等级 | IP 65; IP 67 |
| 认证/测试 |
|---|
| 激光防护等级 | 1 |
| 激光保护注意事项 | | 注意: | 激光 | | 激光等级: | 1 | | EN / IEC60825-1:2007 | | EN / IEC60825-1:2014 | | 符合21 CFR 1040,除了根据激光通知编号的偏差 50, 2007年六月. |
|
| MTTF [年] | 217 |
| UL认证 | | Ta | -25...60 °C | | Enclosure type | Type 1 | | 电源 | Class 2 | | 文件数量UL | E174191 |
|
| 机械技术数据 |
|---|
| 重量 [g] | 229.8 |
| 尺寸 [mm] | 61.7 x 22.5 x 45.2 |
| 原材料 | 外壳: 不锈钢(1.4404 / 316L); PPSU; ABS; PMMA; PBT / PC; EPDM; 前面透镜: 玻璃 |
| 显示器/操作件 |
|---|
| 显示 | | 开关状态 | 2 x LED, 黄色 | | 1 x 字母数字显示, 3位数字 |
|
| 元件 | |
| 附件 |
|---|
| 供货范围 | |
| 注释 |
|---|
| 包装单位 | 1 件 |
| 电气连接 |
|---|
| 接口 | 接插件: 1 x M12 |
| 图表 |
|---|
| 
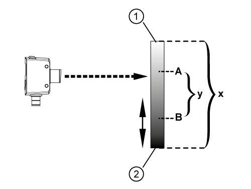
| a: | 传感器 |
|---|
| b: | 目标 |
|---|
| c: | 背景 |
|---|
| x: | 距离传感器/目标物 [mm] |
|---|
| y: | 最小的距离物体/背景 [mm] |
|---|
|
|---|
| 距离测量的滞后曲线 | 
| x: | 距离传感器/目标物 [mm] |
|---|
| y: | 最小的距离物体/背景 [mm] |
|---|
| 1 = | 背景黑色(减弱6 %) |
|---|
| 2 = | 背景(白色90 %反射) |
|---|
|
|---|
| 
| 1: | 亮 |
|---|
| 2: | 暗 |
|---|
| A: | 开关点 |
|---|
| B: | 复位点 |
|---|
| x: | 物体亮度 ( 物体反射率 ) |
|---|
| y: | 可靠检测最小反射率差异 |
|---|
|
|---|
| 物体反射率的滞后曲线 | 
| x: | 物体反射率 ( 0..900 % ) |
|---|
| y: | 迟滞 [%] |
|---|
| 1 = | 可选的滞后曲线 ( 高 ) |
|---|
| 2 = | 迟滞 出厂设定 ( 低 ) |
|---|
|
|---|
| 其他数据 |
|---|
| 参数 | 设定范围 | 出厂设定 | | Uni | cm | cm | | OU1 | Hno, Hnc, Fno, Fnc, OFF | Hno | | SP1 [cm] | 8.5…150 | 150 | | nP1 [cm] | 8.5…150 | 20 | | FP1 [cm] | 8.5…150 | 25 | | LG1 | And,Or,Off | Off | | dS1 [s] | 0…0.1…5 | 0 | | dr1 [s] | 0…0.1…5 | 0 | | OU2 | Hno, Hnc, Fno, Fnc, OFF | Hno | | SP2 [%] | 6…900 | 6 | | bP2 [%] | 6…900 | 60 | | dP2 [%] | 6…900 | 30 | | HyL | Lo/Hi | Lo | | LG2 | And,Or,Off | Off | | dS2 [s] | 0...0.1...5 | 0 | | dr2 [s] | 0...0.1...5 | 0 | | dFO [s] | 0...0.1...5 | 0.1 | | dIS | ON / OFF | ON |
|
| 可重复性: 6 σ |
|---|
| 测量值的重复精度 | | | 距离 | 白色(90 %反射) | 黑色(6 %...90 %减弱) | | 85 mm | 8.0 mm | 15.0 mm | | 750 mm | 8.0 mm | 15.0 mm | | 1500 mm | 20.0 mm | 60.0 mm |
|
| 数值用于 | | | 物体的外部光线 | < 10 klx | | 恒定的环境条件 | 23 °C / 960 hPa | | 最小的启动时间(分钟) | 10 |
|