广东科晶智达科技有限公司
易退模组合模具(圆柱形)

查看原图
关注:2271
产地:广东
配件产地:国产配件

易退模组合模具(圆柱形)主要为圆形厚片而设计,可用于红外、荧光、钙铁、超导、电池等新材料领域。

产品型号

易退模组合模具(圆柱形)

主要特点

操作简单,退模迅速、成功率高,但需特殊定做。

技术参数

内径尺寸:Ø5mm、Ø6mm、Ø8mm、Ø10mm、Ø15mm、Ø20mm、Ø25mm、Ø30mm、Ø40mm、Ø50mm、Ø60mm、

Ø70mm、Ø80mm、Ø90mm、Ø100mm(特殊尺寸可定做)

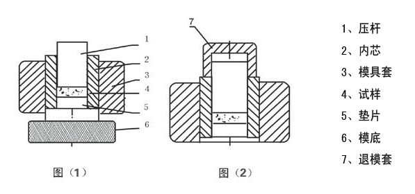
压样退模

按图(1)压片,将垫片放在模具中央,将内芯顺时针方向排列在模底上,将模具套套在内芯的表面,装填粉末,放上压杆加压即可 。按图(2)退模,取下模底,放上退模套加压即可退模。

产品发布日期:2026.05.09
广东科晶智达科技有限公司