广东科晶智达科技有限公司
X荧光铁环模具

查看原图
关注:1776
产地:广东
配件产地:国产配件

X荧光铁环模具主要用于红、荧光、钙铁、建材、超导、电池等新材料领域。

产品型号

X荧光铁环模具

主要特点

可配套各种X荧光光谱仪上使用。

技术参数

内径尺寸:Ø32mm、Ø40mm、Ø48mm(特殊尺寸可定做)

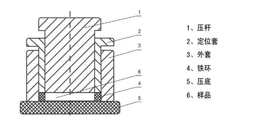
压样退样

1、将外套放在压底上。

2、铁环放入外套里。

3、固定套放入外套里顶住铁环。

4、放入适量样品。

5、压杆放入定位套,将样品碾匀后加压,即压制样品。

6、拿掉压底,将模具整体倒置,依靠压杆将铁环样品一同顶出。

产品发布日期:2026.05.12
广东科晶智达科技有限公司