落棒粘度计(也称拉雷粘度计)是用于测定印刷油墨等非牛顿流体(粘度随剪切速率变化的流体)某些流变特性(表观粘度、假屈服值、短度等)的常用仪器。通常认为拉雷落棒试验结果能较理想的描述油墨在印刷过程中的部分流变特性,适用于油墨生产期间粘度的实际控制,并经常作为买卖双方验收的技术要求。LBN-II型落棒粘度计是参照国际标准ISO12644:1996(E)《印刷技术—使用落棒粘度计测定浆状油墨及其连接料的流变特性》设计制造的,其原理是:测量不同加载荷重落棒通过涂有测试样的孔隙所需下落时间,借助适当的流动模型(卡逊模型,宾汉姆模型或指数定律模型),通过应用线性回归方法以获得样品的表观粘度(某剪切速率下的粘度值,拉雷落棒试验获得的表观粘度有时也称为拉雷粘度)、屈服值和短度比(常简称为短度)。
主要技术参数:
1、使用电源:220V 50Hz
2、适用表观粘度范围:2~200Pa·s
3、落棒尺寸:Φ12×300mm
4、落棒重量:132g
5、砝码组克数(共4075g):25-50-100-200-200-500-1000-1000-1000g
6、仪器外形尺寸(长×宽×高):140×140×300mm
7、重量(含仪器、砝码盒、控制箱):18kg
操作准备:
1、将仪器从盒内取出置于工作台上,调整仪器水平。
2、插好信号连接线插头,将温度传感器插入落棒导套的斜孔内。
3、将恒温水槽(需另行购置)引出的两根乳胶管分别与恒温水套相连接。
4、接通电源,打开恒温水槽和仪器控制箱的电源开关,显示屏显示温度为当前导套的摄氏温度,时间显示为0.00秒。(注:恒温水槽的具体操作方法见恒温水槽说明书。)
5、整个测定期间实验室温度应保持为25℃±2℃。当导套温度达到标准规定的25℃±0.2℃时,就可以开始进行测定。
6、操作时为尽量降低人体温度造成的升温,应避免裸手接触粘度计的落棒、导套。在需接触落棒、导套时要戴手套或在手里垫小块棉布。
操作概要:
1、测定前,每次取约5g的受测样,用小调墨刀在玻璃板上加以调匀,检查没有任何粗颗粒和杂物。受测样的量应能足够覆盖落棒导套环状凹槽。
2、将落棒垂直插入落棒导套孔内并轻轻降落至旋转挡板上。用塑料调墨刀将经调匀的受测样涂布在落棒和导套环状孔的槽内;轻轻旋转落棒,使受测样均匀分布在凹槽周围;同时可用指尖从落棒底部将落棒轻轻抬起约20毫米,使受测样尽可能靠近槽底,松开手指让落棒下落到旋转挡板上,以确保凹槽充满受测样。
3、任选荷重砝码置于落棒顶部,移开旋转挡板以使落棒下落,让受测样润湿落棒和导套;同时请确认光电开关和温度传感器工作正常(下落时温度固定显示为下落开始时的温度,时间显示为下落计秒;下落结束时温度显示为下落结束时的温度,时间显示为实际的下落秒数;拉起落棒后温度恢复显示为导套实测温度,时间自动清零)。
4、避免任何可能刮伤落棒的操作,不准使用金属刮墨刀对落棒进行操作;不准在无受测样情况下作下落操作。下落完毕,将落棒轻轻拉起并搁置在旋转挡板上。用塑料调墨刀将落棒上的油墨刮下,将其涂在落棒的下部以及导套环状凹槽内。
5、选择适当的荷重砝码组合:按上述3~4步骤选择砝码做下落试验,以确认所选大荷重砝码的下落时间在4~10秒范围内(美标准ASTM D4040-05推荐为尽量接近1~2秒),其余砝码的下落时间不超过60秒。通常选取4~5个不同重量的荷重砝码组合。
ISO标准推荐如下的荷重砝码组合:(单位:g)
| A | 5000 | 4000 | 3000 | 2000 | 1000 |
| B | 3000 | 2000 | 1500 | 500 | |
| C | 1500 | 1000 | 800 | 500 | |
| D | 800 | 600 | 400 | 200 | |
| E | 400 | 300 | 200 | 100 | |
| F | 200 | 100 | 50 | 0 |
6、受测样的测定从砝码组合中重的砝码开始,此重砝码至少要做到两次下落时间差不超过0.5秒,才可以依次更换轻点的砝码进行测定。开始测定前按上述1~2步骤准备受测样;每完成次下落,必须用塑料调墨刀将落棒上的油墨刮下,将其涂在落棒的下部;测定中不得添加受测样;如果测定过程中发现受测样不够用了,清洗落棒和导套,然后取新的受测样重复上述1~2步骤。每种重量的砝码各测定3次,每次均记录落棒下落时间(精确到0.01秒)和测定时导套的温度(精确到0.1℃)。
7、测定操作应迅速且不能中断,全部操作应在5到10分钟内完成。很多印刷油墨和连结料都含有强挥发性的溶剂,除非严格控制实际暴露时间,否则操作时的挥发损失可能使测定结果发生较大偏离。如果发现连续数次落下同荷重砝码的落棒,下落时间会变长,就说明有明显的挥发性损失存在(此时宜选取较重的砝码组合以减少测定时间)。
8、粘度测定对温度有很强的敏感性,所以温度必须在测定过程中得到控制和监测。原则上操作前如果导套温度超过25.2℃,温控设备必须重新设定;如果在整个测定过程中导套温度变化超出25℃±1℃,试验必须重做。
9、测定完成后及时做好仪器的清洁保养工作,特别是落棒和导套的清洁工作定要及时、仔细、彻底。清洗应使用不起绒毛的布或纸和适当的溶剂。
数据处理概要:
1、参照ISO标准,定义仪器常数、如下:
……………………………(1)
………………………(2)
式中:L——落棒下落的距离(m)
s——落棒和导套缝隙间样膜厚(m)
g——重力加速度(取9.80665m/s2)
π——圆周率(取3.14159)
r——落棒半径(m)
l——导套等效圆柱状部分长度(m)
2、剪切速率和剪切应力可按下式求得:
………………………………(3)
…………………………(4)
式中:γ——剪切速率(s-1)
t——落棒下落时间(s)
σ——剪切应力(Pa)
m——落棒和荷重砝码的总质量(kg)
3、粘度可按下式求得:
………………………………(5)
式中:η——粘度(Pa·s)
4、对牛顿流体来说,粘度是不变的常量,简单取各次测定结果计算后的平均值即可获得受测样的粘度值。但落棒粘度计主要是用来测定非牛顿流体粘度的,此时粘度是随剪切速率不同而变化的,各次测定结果计算后获得的粘度值是不同的。为区分于牛顿流体的粘度值,通常将非牛顿流体的这些不同粘度值称为表观粘度。为使测定的表观粘度值具有可比性,必须规定统的剪切速率值。ISO标准规定取2500s-1剪切速率(通常认为该剪切速率适用于描述印刷油墨的流变特性)下的表观粘度值作为受测样的表观粘度(有时也称为拉雷粘度)。
5、为了由各组测定数据导出2500s-1剪切速率下的表观粘度,就必须对剪切应力和剪切速率间的函数关系作某些假设,通常称为流动模型。ISO标准推荐了三种流动模型:卡逊模型、宾汉姆模型和指数定律模型,同时指出该三种模型均适用于描述某些印刷油墨的流变特性,应由用户按实际情况予以选择。并指出该三种模型间不存在某种转换公式。
6、虽然ISO标准推荐了三种流动模型,但落棒粘度计通常是采用指数定律模型来做数据处理的(在ASTM D4040-05《使用落棒粘度计对浆状油墨及其连接料流变特性的标准测试方法》中只推荐了指数定律模型的处理方法)。因此本说明书的测定数据处理部分仅涉及该方法(其余流动模型的处理请用户自行参阅ISO标准)。其实ASTM标准对操作过程的描述远比ISO标准详尽,也可作为使用参考(但ASTM标准对仪器参数的规定和计算与ISO标准有出入,阅读时请注意)。
7、ISO标准定义的指数定律模型如下:
………………………………(6)
式中:k——与流体粘度有关的常数
N——表征流体的非牛顿特性程度的常数
8、对牛顿流体,N=1;N<1的非牛顿流体是剪切变薄的流体(假塑性流体),大多数印刷油墨是剪切变薄的;N>1的非牛顿流体是剪切变厚的流体(胀流型流体),对印刷油墨及其连接料来说,通常是不存在这种情形的。如果测定结果出现N大于1~1.05的情形,请核对测定数据或重做测定。
测定数据处理:
1、如果测定过程中温度超出25℃±0.2℃范围,则下落时间应按下式进行修正:
t=t测[1+δt(T测-25)]
式中:t——修正后的下落时间(s)
t测——测定时记录的下落时间(s,对同砝码下落取平均值)
δt——温度修正系数,对印刷油墨来讲,推荐采用0.1
T测——测定时记录的温度(℃,对同砝码下落取平均值)
2、下落质量m是落棒和荷重砝码的总质量(kg)。将各组t,m值代入公式(3)和(4)获得每组的σ和γ值(仪器常数α和β随仪器已给出)。
3、对指数定律模型方程二边取对数,得到如下的线性关系式:
logσ= logk+Nlogγ
利用步骤2中求得的各组σ,γ值对上式做线性回归可求得logk和N,进而求得k和N。
4、线性回归的相关系数作为测定数据有效性的判定依据:相关系数大于等于0.999则认为结果有效;相关系数较低则测定必须重做。
5、测定结果按如下公式计算获得:
表观粘度(拉雷粘度)=k·2500N-1假屈服应力(屈服值)= k·2.5N短度比(或称短度)=假屈服应力/表观粘度
6、仪器在出厂前和使用一定时间后必须进行校准。如果仪器的测定粘度与标准油粘度数据相差超过20%,该组落棒和导套组合必须被更换;如果相差不超过20%,可采用粘度修正系数来进行补偿。表观粘度按下式计算:
表观粘度=δ·k·2500N-17、以上是测定数据处理的简要说明,实际计算是采用计算机软件来完成的(软件由随机附赠的光盘提供)。
使用注意事项:
1、落棒、导套和光电开关、控制箱必须按编号配对使用,不可仪器间交叉混合使用,否则随仪器给出的仪器常数α、β无效。
2、落棒和导套属于精密零件,其精度直接影响测定数据。因此受测样中绝不可含有高硬度杂质;用于刮油墨的调墨刀也必须使用塑料或其他软质材料,以免刮伤落棒。
3、仪器常数α、β和粘度修正系数δ在出厂前由本公司检测人员测定并随附赠的光盘给出。
4、在使用过程中,落棒和落棒导套不可避免会产生磨损,仪器常数和粘度修正系数也会随之有所变化,因此仪器通常应每年鉴定、校正次。
5、落棒粘度计是用于化工原料测试过程的,用户在使用前应当按相关安全规定建立适当的安全和卫生防护措施并确定规章制度。与化工原料接触有关的安全问题应当由用户予以确立,不属本说明书的叙述范围。
6、本公司将根据市场和客户的需求不断地改进和开发产品,本说明书如有变动,恕不另行通知。
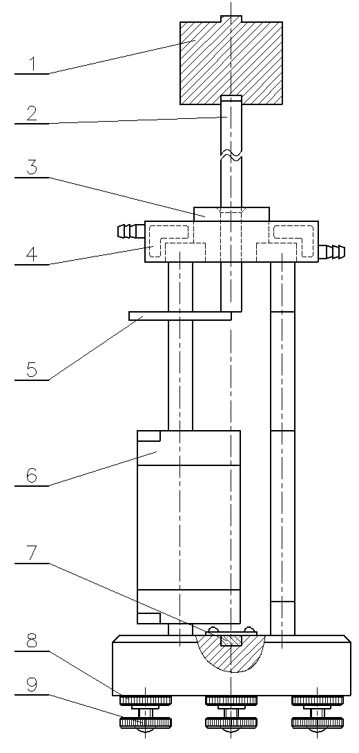
外形图:

1、荷重砝码 2、落 棒 3、导 套 4、恒温水套 5、旋转挡板 6、光电开关 7、水 平 仪 8、固定螺母 9、调节螺钉
落棒粘度计外形图
装箱单:
| 1、主机 | 1台 |
| 2、控制箱 | 1件 |
| 3、砝码组 | 1盒 |
| 4、塑料调墨刀 | 1把 |
| 5、光电开关、温度传感器 | 1组 |
| 6、恒温水套 | 1件 |
| 7、乳胶管6×9 | 2×1.5米 |
| 8、电源连线 | 1件 |
| 9、使用说明书 | 1份 |
| 10、附赠光盘(操作录像、软件) | 2张 |
售后服务:
1、产品质量问题,在产品售出7天内提出异议并且产品未有损坏的,我司负责无条件免费退换货;
2、本产品全国联保,质保期:1年质保;
3、质保期内如有产品质量问题,免费维修;质保期外长期提供技术支持;
4、所有产品售后问题,请直接联系我司,我司售后服务团队会在30分钟内响应处理。