FRARIV D100安息角测试计是根据GB/T 16913-2008标准设计制造的粉末安息角测定仪器。采用注入限定底面法,适用于测量粉尘在水平料盘上堆积后与底部水平面所夹的锐角,即安息角。其组成包括漏斗、量角器和底盘。漏斗具有Φ5mm的流出口直径,锥度为60º±0.5º;量角器范围为7.5cm~10cm;底盘流出口底与盘面距离为80mm±2mm,料盘直径为Φ80mm。该设备结构简单,能准确测定粉尘安息角,符合相关标准,适用于粉末安息角的实验测量。
适用范围
D100粉末安息角测定仪是根据中华人民共和国国家标准GB/T 16913-2008的规定设计、生产。本装置适用于使用注入限定底面法测量粉末的安息角。
将足够满溢料盘的粉尘从漏斗口注入到水平料盘上;测量粉尘堆积斜面与底部水平所夹锐角,即粉尘安息角。
仪器组成
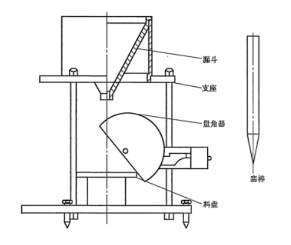
1、漏斗
流出口直径Φ5mm,其中漏斗锥度60º±0.5º;
2、量角器
量角器7.5cm~10cm;
3、底盘
流出口底与盘面距离80mm±2mm,料盘直径Φ80mm。
产品结构图

技术参数
型号 | D100 |
测量原理 | 注入限定底面法 |
符合标准 | GB/T 16913-2008 |
漏斗流出口直径 | Φ5mm |
漏斗锥度 | 60º±0.5º |
量角器 | 7.5cm~10cm |
流出口底沿与盘面距离 | 80mm±2mm |
料盘直径 | Φ80mm |