精科QTZ漆膜圆锥弯曲试验仪是一款用于测定清漆、色漆涂层的机械试验仪,可评估其在标准条件下绕锥形轴弯曲时的抗开裂性能以及涂层的延伸率。符合多种国际或国家标准,如ISO6860-1984(E)、ASTMD522-60(1979)、BS3900;PartE11:1985等。该仪器采用纯机械设计,操作简单,通过测定试板上涂层的裂痕位置来评估涂层的性能,为涂料质量控制提供了重要的测试数据。
QTZ漆膜圆锥弯曲试验仪概述
精科QTZ漆膜圆锥弯曲试验仪是一种测定清漆、色漆涂层的机械试验仪,主要用于在标准条件下,绕锥形轴弯曲时的抗开裂或从金属板上剥离的性能,也可用于测定涂层的延伸率。QTZ漆膜圆锥弯曲试验仪符合ISO6860-1984(E)、ASTMD522-60(1979)、BS3900;PartE11:1985多种国际或国家标准。
工作原理
QTZ漆膜圆锥弯曲试验仪是纯机械式设计,其原理是:首先将试板插入拉杆与锥形轴之间,然后用夹板夹紧手握操纵杆,由前向后翻轴(使试板绕锥形轴变曲),根据试板上涂层的裂痕位置来测定其剥离性能。
QTZ漆膜圆锥弯曲试验仪锥形轴尺寸 图

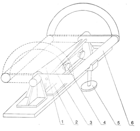
QTZ漆膜圆锥弯曲试验仪结构图

1、锥形轴;2、夹板;3、拉杆;4、旋钮;5、V形支承;6、操纵杆
技术参数
| 型号 | QTZ |
| 外形尺寸 | 380mm x 150mm x 186mm |
| 环境条件 | 23±2℃和相对温度(50±5)%的条件 |
| 试板要求 | 尺寸为100mm*180mm、最大厚度为0.8mm的磨光钢板,磨光马口铁板或软铝板 |