精科QSM-II砂磨机是一款用于实验室小样试验的研磨设备,能够将涂料颗粒研磨至25微米以下的细度。该机利用强力电机带动搅拌部件,在高速旋转和翻动的过程中,产生强烈的拉剪和冲击作用,使涂料颗粒达到分散和细磨的效果。QSM-II砂磨机广泛应用于涂料和油漆行业,具备高效的研磨性能,可容纳1.5立升的试样容量。它是实验室研究和品质控制的可靠工具。
QSM-II砂磨机概述
精科QSM-II砂磨机是实验室做小样试验使用的研磨机,可实现研磨的涂料颗粒细度小于25微米。QSM-II砂磨机是利用电机带动搅拌部件进行分散性研磨的工作方式,QSM-II砂磨机在涂料油漆行业领域被广泛应用,可装试样容量为1.5立升。
QSM-II砂磨机的工作原理
利用电动机带动搅拌器部件,并以1.400转/分的速度转动,将砂粒及物料在罐内作急速旋转和翻动,由于砂粒和物料之间产生强烈的拉剪和冲击,使得物料颗粒达到了分散和研细的目的。
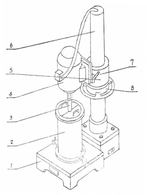
QSM-II砂磨机结构图
本砂磨机的主要组成分为为:1、底座;2、研磨罐;3、搅拌器部件;4、电机;5、电机座;6、立柱;7、手柄;8、手轮(详细见下图)

技术参数
型号 | QSM-II |
电机功率 | 370W |
调速范围 | 1400rpm |
电源电压 | 380伏 50赫兹 |
外形尺寸 | 396*223*700mm |
研磨罐规格 | 直径100*200毫米(容量约为1.5立升) |
研磨介质粒径 | 2~4.5毫米钢化玻璃球(自备) |
搅拌器材质 | 电镀 |