精科QTX漆膜弹性试验器是专为涂料漆膜柔韧性测定而设计的,符合国家标准GB1731-79。它配备了七个不同直径的钢制轴棒,使用户可以根据需要进行不同尺寸的弹性测试。该试验器适用于22±1°C的环境温度,相对湿度不超过70%的条件下进行测试,提供可靠的柔韧性测定结果。操作简单,方便实用。
QTX漆膜弹性试验器概述
精科QTX漆膜弹性试验器是一款按照国家标准GB1731-79设计的涂料漆膜柔韧性测定专用的漆膜弹性试验器,QTX漆膜弹性试验器上有七个不同直径的钢制轴棒。QTX漆膜弹性试验器的使用环境条件为22±1℃环境温度且相对温度不大于70%。
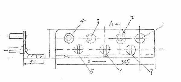
QTX漆膜弹性试验器结构图

1、R=7.5m/m钢棒;2、R=5m/m钢棒;3、R=2.5m/m钢棒;4、R=2m/m钢棒
5、R=1.5m/m钢棒;6、R=1m/m钢棒;7、R=0.5m/m钢棒
技术参数
| 型号 | QTX |
| 轴棒长度 | 50毫米 |
| 轴棒直径 | 轴棒1直径为15毫米 轴棒2直径为10毫米 轴棒3直径为5毫米 轴棒4直径为4毫米 轴棒5截面3*10毫米,其曲度半径为为1.5毫米 轴棒6截面2*10毫米,其曲度半径为为1毫米 轴棒7截面1*10毫米,其曲度半径为为0.5毫米 |
| 测试铁板尺寸 | 厚度0.2~0.3毫米,尺寸20*100~150毫米 |
| 放大镜 | 四倍放大镜 |
| 使用环境 | 在22±1℃,相对温度不大于70%条件 |