精科QCJ-120A漆膜冲击试验器是为测试漆膜的耐冲击性而设计的高质量仪器。它能够以最大高度120厘米的固定质量的重锤进行冲击试验,而不会损坏漆膜,且无二次回弹现象。该冲击试验器具有稳定的结构,包括底座、枕垫块、冲杆、支臂等组件,操作简单。QCJ-120A型符合GB/T 5237.4-2000标准,可精确测定漆膜的耐冲击性能,是涂料制造和质量控制的重要工具。
QCJ-120(120A、120B)型系列漆膜冲击试验器用于以固定质量的重锤落于试板上而不引起漆膜破坏的最大高度120厘米表示的漆膜耐冲击性试验。本仪器冲击头冲击试板后,无二次回弹现象。
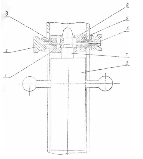
主要结构

1、底座;2、枕垫块;3、冲杆;4、支臂;5、螺钉;6、滑筒;7、定位标;8、控制器组件

1、控制器下底;2、控制器电器丁;3、控制器弹簧;4、控制器上盖;5、控制器滑块;6、控制螺钉;7、挂钩;8、1Kg(2Kg)重锤组件
工作原理
由控制器螺钉将带有挂钩的重锤固定在所要求的高度上,其高度即滑筒刻度所示高度刻线与定位标刻线重合。按压控制螺钉则控制器弹簧被压缩,此时控制滑块的圆孔与控制器上盖及控制器下底的圆孔对正使挂钩脱落,重锤落下,撞击冲杆,冲杆向下作用在事先放在枕垫块上的试板上。之后,提升重锤体,取出试板,以观察试板上漆膜试验情况。
QCJ系列冲击试验器系列参数对比
| 型号 | QCJ-120型 | QCJ-120A型 | QCJ-120B型 |
| 仪器刻度长度 | 120±0.2cm | 120±0.2cm | 120±0.2cm |
| 分度 | 1cm | 1cm | 1cm |
| 锤体质量 | (1000±1)g | (1000±1)g | (2000±2)g |
| 冲击头规格 | S直径8mm | S直径16mm | S直径16mm |
| 枕垫块凹孔直径 | 15mm | 15mm | 16.3mm |
| 曲率半径 | R2.5-3mm | R2.5-3mm | R2.5-3mm |
| 冲击头冲击深度 | (2±0.1)mm | (2.5±0.1)mm | (2.5±0.1)mm |
| 招待标准 | GB/T1732—93漆膜耐冲击测定法 | GB/T5237.4-2000铝合金建筑型材第4部分粉末喷涂型材 | ASTM·D2794-92有机涂层抗快速形变(冲击)作用的测试方法 |
技术参数
型号 | QCJ-120A |
导管高度 | 120±0.2cm |
冲击高度 | 120cm |
分刻度 | 1cm |
落锤质量 | (1000±1)g |
冲击头规格 | 直径16mm |
冲击深度 | (2.5±0.1)mm |
模座凹孔直径 | 15mm |
曲率半径 | R2.5-3mm |
满足标准 | GB/T5237.4-2000铝合金建筑型材第4部分粉末喷涂型材 |