润杰天地RJTC-10涂层附着力测试仪是专为测量油漆与被附着物之间的正拉粘结强度而设计的仪器。该仪器采用机电一体化设计,结构紧凑,操作方便。它具有多项实用功能,如自动清零、峰值保持、数据存储、自动关断等,使测试更加精确和便捷。此外,RJTC-10还配备了20mm和50mm两种规格的标准块,可广泛用于测量各种涂漆和涂层的粘结强度,满足不同应用需求。它符合ISO和国家标准,可用于涂层质量检验和工程项目中,是涂漆工程师和施工人员的可靠选择。
RJTC-10 型油漆附着力检测仪(简称检测仪)是是为检测油漆与被附着物之间正拉粘结强度而研制的仪器。根据粘结强度与拉伸时的破坏形式,可立即得出试验结果。检测仪采用机电一体化设计,全套仪器为一个整体。包括手柄、传感器、丝杠、反力支座等机械部分构成一个“门”型结构。同时将测量显示电路嵌入到仪器内,可以直接观测数据。检测仪具有重量轻、手柄操作省力、使用方便等特点。


符合标准
ISO 4624:2002《色漆和清漆 拉开法附着力试验》;
GB/T 5210-2006《色漆和清漆 拉开法附着力试验》;
TB-T2965-2011《铁路溷凝土桥面防水层技术条件》;
检测仪主要功能
功能选择:适用于油漆粘结强度的检测。
测量选择:标准块检测。
自动清零:通电后自动消除偏差值使输出显示为零值。
峰值保持:在峰值保持状态,始终显示最大拉力值。
数据存储:可存储检测值,并可随时调出和清除。
自动关断:具有延时断电功能,延长电池使用寿命。
线性校正:可设置5个校正点,对数据线性进行修正,提高检测精度。
强度值测量:可直接显示MPa值。
可检测油漆粘结强度,各种涂镀层粘结强度,使用范围广。
检测范围50标准块可检测0-5.2MPA。
20圆标准块可检测仪0-32MPA。
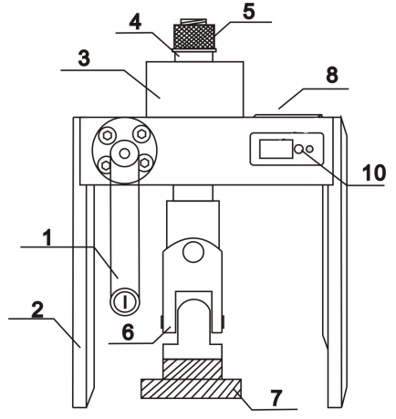
产品结构图
RJTC-10附着力检测仪为一体式设计,仪器主机及仪表结构如下图。

1.手柄 2.支撑板 3.工作油缸 4.活塞 5.螺母 6.万向拉杆 7.标准试块 8.智能数显压力表 10.充电口
仪器同时配有规格为20mm和50mm的标准块各一组。
技术参数
型号 | RJTC-10 |
测量方式 | 手动 |
顶子尺寸 | 20mm/50mm |
量程范围 | 10KN/0~31.84MPa、10KN/0~5.09MPa |
分辨率 | 0.001KN/0.001MPa |
示值误差 | ≤±1%F.S |
力值单位 | MPa、KN |
符合标准 | ISO 4624:2002、GB/T 5210-2006、TB-T2965-2001 |
重量 | 1.8Kg |
活塞行程 | 10 mm |