天地星火 XH-15TS 智能锚杆拉拔仪是一款高效且精准的检测工具,专为测量150kN拉力的锚杆、钢筋和锚栓而设计。其主要卖点包括:配备240*320彩色触摸屏,实时显示拉拔力并自动存储数据,支持EXCEl格式导出和电脑联机查看;拥有大容量存储卡,可保存10000条数据,并具备数据自动存储和曲线显示功能,符合相关设计规范,为工程质量检验提供了可靠的解决方案。
产品用途
由天地星火研制生产的XH-nTS系列拉拔仪(拉力计)适用于锚杆、钢筋(植筋)、锚栓等锚固件锚固力的检测,是锚杆、锚栓施工工程质量检验的推荐仪器。
该拉拔仪由手动泵、液压缸、数字压力表及高压胶管等部分组成。泵体采用铝制合金材料与不锈钢材料制造,使用寿命长。液压缸为中空自复位式,通过快速接头与高压胶管快速连接。彩色触摸屏压力表读数直观,可直读锚杆、锚栓拉力(kN)值。该系列拉拔仪结构紧凑、测量精准、性能稳定。符合GB50367-2006《混凝土结构加固设计规范》与JGJ 145-2013《混凝土结构后锚固技术规程》要求。
产品特点
1、240*320彩色触摸显示屏
2、检测过程自动存储
3、存储卡存储数据,EXCEl格式存储,可电脑联机查看数据
4、拉拔力值-时间曲线显示
5、大容量存储卡,可存储10000条数据。
6、数据自动存储,0.5S存储1个数据。
7、屏幕亮度可调
8、自动关机可设定
9、中英文显示切换
10、量程可切换,一个数显表可标定多台液压缸
11、两种显示界面(数据界面,曲线界面)
11、工程塑料包装箱,防雨、防尘、防撞击。
工作原理
智能拉拔仪(拉力计)的工作原理是:当千斤顶中心孔穿过被测杆件后,选用合适的锚具夹住被测杆件外漏部分;在手动泵液压力的作用下,油压通过油管传递至油缸缸体,活塞杆顶住专用锚具向外运动;压力直接作用在锚具外壳上,再传递至夹片,夹片受力后卡紧被测杆件,最终促使杆件受到向外的拉拔力;此时压力泵上的压力表显示出所对应的受力(kN)值,即反应出被测杆件所受拉拔力的大小。拉拔仪在完成检测后,需用人工以较小的力晃动、振动的方法卸下锚具,才可方便地卸下中空油缸。
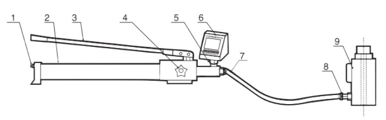
产品结构图

1、加油口 2、储油筒 3、压杆 4、卸荷阀 5、压力传感器 6、智能数显表 7、高压油管 8、快速接头 9、中空自复位液压缸
技术参数
型号 | XH-15TS |
最大工作压力 | 60MPa |
柱塞直径 | 15mm |
质量 | 5kg |
最大拔出力 | 150kN |
中心孔径 | 34mm |
活塞行程 | 80mm |
质量 | 11kg |
测量范围 | 0~150kN |
电源 | 4节5号电池 |
质量 | 0.3kg |
分辨率 | 0.01kN |
示值误差 | ≤±1%F.S(满量程) |