天地星火 XH-60TS 锚固力拉拔检测仪是一款高精度的拉力计,专用于锚杆、钢筋和锚栓的锚固力检测。它配备240*320彩色触摸屏,提供清晰的直读值和拉拔力-时间曲线显示。该仪器拥有大容量存储卡,可保存10,000条数据,并支持EXCEL格式导出,便于电脑分析。具备自动存储、屏幕亮度调节和中英文显示切换功能,确保操作便捷。结构紧凑且性能稳定,符合相关检测标准,适合施工质量检验。
产品用途
由天地星火研制生产的XH-nTS系列拉拔仪(拉力计)适用于锚杆、钢筋(植筋)、锚栓等锚固件锚固力的检测,是锚杆、锚栓施工工程质量检验的推荐仪器。
该拉拔仪由手动泵、液压缸、数字压力表及高压胶管等部分组成。泵体采用铝制合金材料与不锈钢材料制造,使用寿命长。液压缸为中空自复位式,通过快速接头与高压胶管快速连接。彩色触摸屏压力表读数直观,可直读锚杆、锚栓拉力(kN)值。该系列拉拔仪结构紧凑、测量精准、性能稳定。符合GB50367-2006《混凝土结构加固设计规范》与JGJ 145-2013《混凝土结构后锚固技术规程》要求。
产品特点
1、240*320彩色触摸显示屏
2、检测过程自动存储
3、存储卡存储数据,EXCEl格式存储,可电脑联机查看数据
4、拉拔力值-时间曲线显示
5、大容量存储卡,可存储10000条数据。
6、数据自动存储,0.5S存储1个数据。
7、屏幕亮度可调
8、自动关机可设定
9、中英文显示切换
10、量程可切换,一个数显表可标定多台液压缸
11、两种显示界面(数据界面,曲线界面)
12、工程塑料包装箱,防雨、防尘、防撞击。
工作原理
智能拉拔仪(拉力计)的工作原理是:当千斤顶中心孔穿过被测杆件后,选用合适的锚具夹住被测杆件外漏部分;在手动泵液压力的作用下,油压通过油管传递至油缸缸体,活塞杆顶住专用锚具向外运动;压力直接作用在锚具外壳上,再传递至夹片,夹片受力后卡紧被测杆件,最终促使杆件受到向外的拉拔力;此时压力泵上的压力表显示出所对应的受力(kN)值,即反应出被测杆件所受拉拔力的大小。拉拔仪在完成检测后,需用人工以较小的力晃动、振动的方法卸下锚具,才可方便地卸下中空油缸。
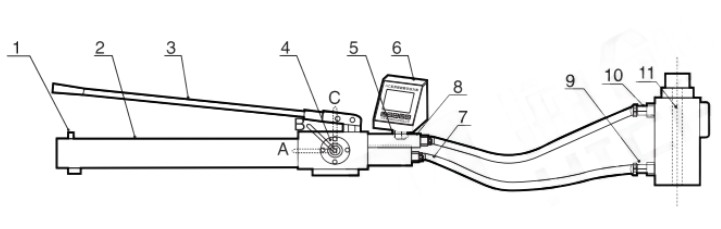
产品结构图

1、加油口 2、储油筒 3、压杆 4、换向阀 5、压力传感器 6、智能数显表 7、高油油管 8、三通 9、进油口 10、回油口 11、中空液压缸
换向阀位置:A:加压;B:中位;C:泄压(退锚)
技术参数
型号 | XH-60TS |
最大工作压力 | 65MPa |
柱塞直径 | 15mm |
质量 | 14kg |
最大拔出力 | 600kN |
中心孔径 | 65mm |
活塞行程 | 120mm |
质量 | 32kg |
测量范围 | 0~600kN |
电源 | 4节5号电池 |
质量 | 0.3kg |
分辨率 | 0.1kN |
示值误差 | ≤±1%F.S(满量程) |