一. 简介
ETCR系列柔性线圈电流传感器由线圈和手柄组成,线圈部分无任何裸露金属导体,非接触测量,安荃可靠;其体积小、重量轻、外观精美、柔软灵活,适合于狭窄环境和排线密集的场所;测量范围宽、精度高、可靠性强、响应频带宽(0.1Hz-1MHz),用户可根据需求定制线圈长度。广泛适用于电力、通信、气象、铁路、油田、建筑、计量、科研教学单位、工矿企业等领域。特别适合继电保护、可控硅整流、变频调速、半导体开关、功率电子转换设备、电弧焊接等信号严重畸变的工业环境。
ETCR系列柔性线圈电流传感器,即Rogowski
Coil(洛氏线圈),采用先进的罗氏线圈技术,是一个在非铁磁性材料上均匀缠绕的环形线圈,无磁滞效应,几乎为零的相位误差,无磁饱和现象,线性度极高。输出信号是电流对时间的微分,通过对输出电压信号进行积分,就可以真实还原输入电流,其测量电流范围可从毫安级到上万安。主要用于交流漏电流、大电流、高次谐波电流(可达400次)、复杂波形电流、瞬态冲击电流、相位、电能、功率、功率因数等检测。搭配积分器,易于集成到其他设备,如相位检测分析仪、工业控制装置、数据记录仪、示波器、谐波分析仪、电力质量分析仪、高精度数字多用表、瞬态冲击记录仪、分布式测量系统、保护系统等。
二. 型号类别
产品图片 | 线圈型号 | 线圈内径 | 线圈长度 | 线圈质量 | 线圈直径 |
| ETCR50FA | φ50mm | 160mm | 80g | φ7.5mm |
ETCR100FA | φ100mm | 320mm | 90g | ||
ETCR150FA | φ150mm | 480mm | 100g | ||
ETCR200FA | φ200mm | 640mm | 110g | ||
ETCR300FA | φ300mm | 950mm | 132g | ||
ETCR500FA | φ500mm | 1580mm | 170g | ||
ETCR1000FA | φ1000mm | 3150mm | 290g | ||
ETCR1500FA | φ1500mm | 4720mm | 390g | ||
| ETCR200FB | φ200mm | 640mm | 212g | φ12mm |
ETCR300FB | φ300mm | 950mm | 274g | ||
ETCR500FB | φ500mm | 1580mm | 400g | ||
ETCR1000FB | φ1000mm | 3150mm | 715g | ||
ETCR2000FB | φ2000mm | 6290mm | 1340g | ||
ETCR3000FB | φ3000mm | 9420mm | 1970g |
注:线圈长度及接口可按客户要求订制。
三. 技术参数
功 能 | 交流漏电流、大电流、高次谐波电流、复杂波形电流、瞬态冲击电流、相位、电能、功率、功率因数等检测 |
检测方式 | 柔性线圈CT:输出信号是电流对时间的微分,通过对输出电压信号进行积分,就可以真实还原输入电流 |
线圈直径 | φ7.5mm/φ12mm(选购) |
量 程 | 0A~10000A~更高 |
分 辨 率 | 10mA |
精度等级 | ±1.0%FS (50Hz/60Hz;23℃±2℃,70%RH以下,导线处于线圈中心位置) |
相位误差 | ≤0.1°(50Hz/60Hz;23℃±2℃) |
输出接口 | 3.5mm音频率插头/PNC插头/抽头(选购),线长2M |
电场干扰 | 无磁滞效应,不受外电场干扰 |
导线位置 | 被测试导线处于线圈的中心位置,位置误差影响≤±0.3%FS |
电流频率 | 45Hz~70Hz(被测电流频率) |
响应频率 | 0.1Hz~1MHz |
线路电压 | AC 1000V以下线路测试 |
工作温湿度 | -20℃~50℃;80%rh以下 |
存放温湿度 | -10℃~60℃;70%rh以下 |
绝缘强度 | AC 2000V/rms(线圈解锁展开后的两端) |
适合安规 | CAT IV 500V 、CAT Ⅲ 1000V |
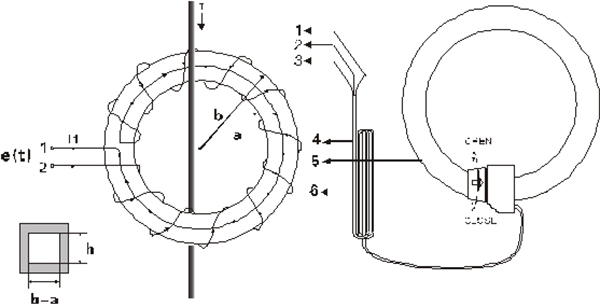
四.原理及结构
罗氏线圈测量电流的理论依据是“法拉第电磁感应定律”和“安培环路定律”。当被测电流I沿轴线通过罗氏线圈中心时,在环形绕组所包围的体积内产生相应变化的磁场,强度为H,由安培环路定律得:∮H·dl=I(t),线圈的感应电压与H的变化率成正比,因此,所有线圈的感应电势之和与电流的变化率成正比。也就是:e(t)=di/dt,对输出电压e(t)求积分,可获取I,因此,罗氏线圈一般与积分器配套使用。
1.线圈抽头输出 2.线圈抽头输出 3.引线屏蔽层 4.音频插头
5.输出引线 6.线圈 7.手柄 8.板扣
![]() |
1.线圈抽头输出 2.线圈抽头输出 3.引线屏蔽层 4. 输出引线
5. 柔性线圈 6. 锁扣
定制详情:
