WZ 电涡流制动器
电涡流制动器是一种性能优越的自动控制元件,它利用涡流损耗的原理来吸收功率。以激磁电流为控制手段,达到控制制动转矩目的,其输出转矩与激磁电流呈良好的线性关系。并具有响应速度快、结构简单等优点。电涡流制动器与我公司生产的HN-201转矩转速功率测量仪、HCNJ-101型转矩转速传感器、WLK型自动控制器、自动测试软件可组成成套自动测功系统。广泛应用于动力机械、传动机械输入、输出的转矩、转速、功率、效率的检测。广泛应用于不同负载状态下动力机械输入技术参数的检测,如:电流、电压电功率、功率因数;油耗、烟度、振动、噪音;流量、压力等。广泛应用于不同负载状态下动力机械控制器技术参数的检测,如变频器、直流电机控制器等。电涡流制动器与我公司生产的WLK型控制器配套,可组成手动张力控制系统。与我公司生产的ZK型自动张力控制仪及张力检测传感器配套,可组成闭环自动张力控制系统。广泛应用于印刷、包装、造纸及纸品加工、纺织、印染、电线、 电缆、橡胶皮革、金属板带加工等有关卷绕装置的张力自动控制系统中。
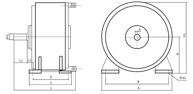
安装尺寸

规格型号 | A | B | C | D | H | H1 | L | L1 | L2 | d | b | d1 |
WZ-5 | 220 | 190 | 135 | 110 | 120 | 230 | 189 | 30 | 18 | 15 | 5 | 10 |
WZ-10 | 255 | 210 | 155 | 125 | 135 | 262 | 221 | 40 | 20 | 20 | 6 | 10 |
WZ-20 | 290 | 260 | 175 | 145 | 150 | 295 | 255 | 55 | 23 | 25 | 8 | 12 |
WZ-50 | 360 | 310 | 220 | 170 | 185 | 365 | 296 | 60 | 27.5 | 35 | 10 | 12 |
WZ-100 | 420 | 350 | 246 | 196 | 215 | 425 | 320 | 70 | 20 | 40 | 12 | 18 |
WZ-200 | 500 | 430 | 300 | 230 | 260 | 500 | 394 | 100 | 29 | 55 | 16 | 18 |
WZ-300 | 540 | 450 | 350 | 280 | 280 | 540 | 488 | 140 | 33.5 | 60 | 18 | 22 |
WZ-650 | 660 | 500 | 385 | 285 | 340 | 670 | 530 | 120 | 66 | 70 | 20 | 22 |
WZ-1000 | 616 | 506 | 493 | 406 | 315 | 720 | 598 | 105 | 40 | 65 | 18 | 58 |
WZ-2000 | 775 | 610 | 557 | 457 | 355 | 770 | 652 | 105 | 40 | 70 | 20 | 35 |
WZ-3000 | 870 | 710 | 714 | 590 | 450 | 915 | 1083 | 210 | 108 | 100 | 28 | 38 |
WZ-6500 | 1650 | 1140 | 1100 | 940 | 800 | 1550 | 1230 | 160 | 50 | 110 | 2-28 | 33 |
产品特点
转矩与激磁电流线性关系良好,适合于自动控制
结构简单,运行稳定、价格低廉、使用维护方便
采用水冷却,噪音低、振动小;
输入转速范围宽,可用于变频调速等各类电动机及动力机械的型式试验;
控制器采用直流电源,控制功率小。
技术参数
规格型号 | 额定转速r/min | 额定扭矩Nm | 额定功率KW | 励磁电压V | 励磁电流A | 冷却水量L/min |
WZ-10 | 300-3000 | 10 | 1.5 | <90 | <5 | 10 |
WZ-20 | 20 | 3 | 20 | |||
WZ-50 | 50 | 8 | 30 | |||
WZ-100 | 100 | 15 | 40 | |||
WZ-200 | 300-3000 | 200 | 30 | 50 | ||
WZ-300 | 300 | 45 | 60 | |||
WZ-650 | 650 | 100 | <180 | <10 | 70 | |
WZ-1000 | 1000 | 150 | 80 | |||
WZ-2000 | 2000 | 315 | 160 | |||
WZ-3000 | 3000 | 470 | <20 | 240 | ||
WZ-6500 | 6500 | 1000 | <40 | 550 | ||
WZ-10000 | 10000 | 1570 | <60 | 800 | ||
WZ-14000 | 14000 | 2200 | <90 | 1100 | ||
注1:转速1500r/min不超过额定转矩;转速1500r/min不超过额定功率KW 注2:3000rpm以上产品可定制,最高转速8000rpm | ||||||
特性曲线:

使用注意事项:
最高环境温度不超过40℃; 海拔高度不超过2000m; 当环境温度为20℃时,相对湿度不大于85%。
按额定转矩、转速、功率选用涡流制动器。严禁超转矩、超功率、超转速使用。
运行前须对电涡流制动器进行检查。核定铭牌数据是否为要求的规格;检查紧固件是否松动,各接线板接线是否正确,接触是否良好,如有缺陷或不良应予排除或更换;用500伏的兆欧表检查励磁绕组,其绝缘电阻不低于12M Ω。
产品安装时,以轴伸水平,底脚放平后旋紧地脚螺栓,并保证各相连装置转动轻快灵活。4、冷却水中不含有直径1mm以上的固体颗粒或其它杂物,其pH值为6-8,硬度为300ppm以下。
进水压力一般为不小于0.1Mpa,不大于0.3Mpa。
进水温度最高不超过30℃,出水温度约为50℃-60℃为宜,大于70℃时则应加大冷却水量。7、加载(加励磁)之前必须先通入冷却水,卸载(去励磁)五分钟之后才能断开冷却水。严禁无水运行,否则短时间便会损害设备。水压、流量应满足说明书要求。
电涡流制动器和控制器必须有可靠接地。
制动器不工作时必须关闭控制器,励磁电流回零。工作时注意励磁电压、电流,严禁超过额定参数运行。
电涡流制动器周围应保持清洁,进出水口应保持畅通。
制动器投入运行后,应定期给轴承添加润滑脂。
运行两年后应进行大修,清洗轴承,更换润滑脂,发现轴承损坏应更换。